OEM ЗАПЧАСТИ

  info@automotohub.ru   8 (916) 294-84-77
  О Компании   Оплата и Доставка   Помощь   Обратная связь

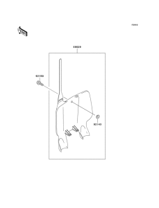
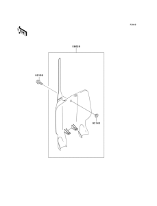
Запчасти для мотоциклов Kawasaki KX500

Год: 1998  •  Код модели: KX500-E10  •  Объем двигателя: 500
Запчасти для мотоциклов Kawasaki KX500
Выбирайте узел вашей техники:


{modalWnd}