OEM ЗАПЧАСТИ

  info@automotohub.ru   8 (916) 294-84-77
  О Компании   Оплата и Доставка   Помощь   Обратная связь

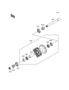
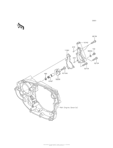
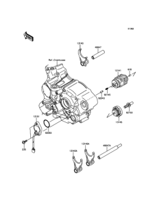
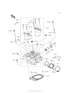
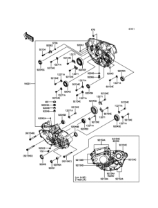
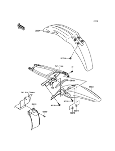
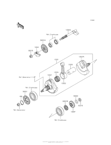
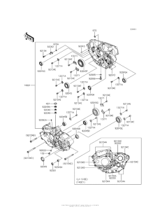
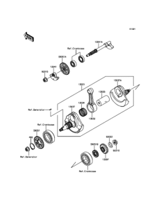
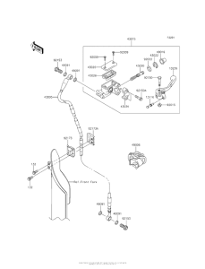
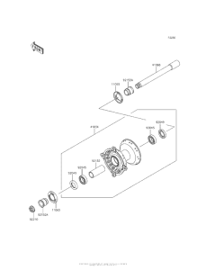
Запчасти для мотоциклов Kawasaki KX450F

Год: 2015  •  Код модели: KX450FFF  •  Объем двигателя: 450
Запчасти для мотоциклов Kawasaki  KX450F
Выбирайте узел вашей техники:


{modalWnd}