OEM ЗАПЧАСТИ

  info@automotohub.ru   8 (916) 294-84-77
  О Компании   Оплата и Доставка   Помощь   Обратная связь

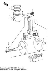
Запчасти для мотоциклов Kawasaki KX400

Год: 1975  •  Код модели: KX400-A1  •  Объем двигателя: 400
Запчасти для мотоциклов Kawasaki KX400
{modalWnd}