OEM ЗАПЧАСТИ

  info@automotohub.ru   8 (916) 294-84-77
  О Компании   Оплата и Доставка   Помощь   Обратная связь

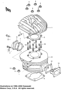
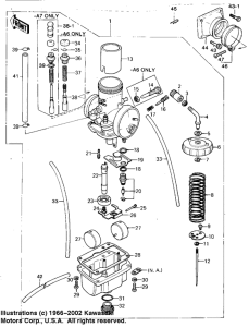
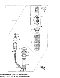
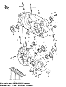
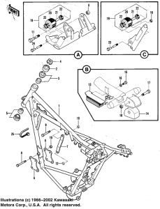
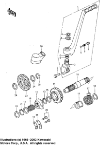
Запчасти для мотоциклов Kawasaki KX250

Год: 1980  •  Код модели: KX250-A6  •  Объем двигателя: 250
Запчасти для мотоциклов Kawasaki  KX250
{modalWnd}