OEM ЗАПЧАСТИ

  info@automotohub.ru   8 (916) 294-84-77
  О Компании   Оплата и Доставка   Помощь   Обратная связь

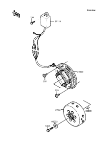
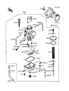
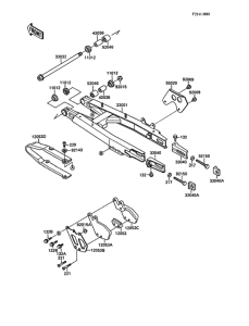
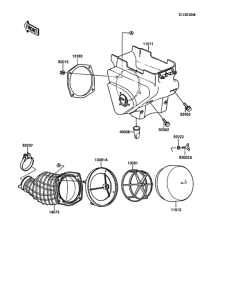
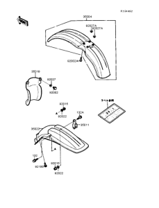
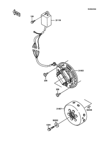
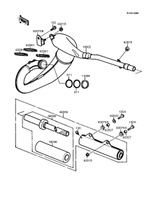
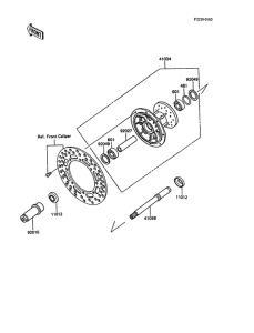
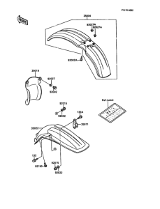
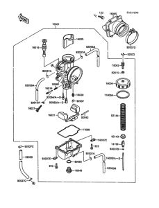
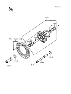
Запчасти для мотоциклов Kawasaki KX250

Год: 1988  •  Код модели: KX250-F1  •  Объем двигателя: 250
Запчасти для мотоциклов Kawasaki  KX250
Выбирайте узел вашей техники:


{modalWnd}