OEM ЗАПЧАСТИ

  info@automotohub.ru   8 (916) 294-84-77
  О Компании   Оплата и Доставка   Помощь   Обратная связь

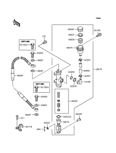
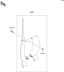
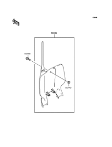
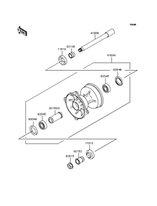
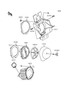
Запчасти для мотоциклов Kawasaki KX250

Год: 2002  •  Код модели: KX250-L4  •  Объем двигателя: 250
Запчасти для мотоциклов Kawasaki  KX250
Выбирайте узел вашей техники:


{modalWnd}