OEM ЗАПЧАСТИ

  info@automotohub.ru   8 (916) 294-84-77
  О Компании   Оплата и Доставка   Помощь   Обратная связь

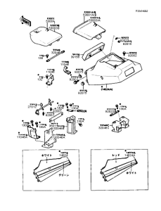
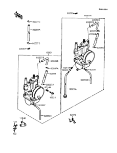
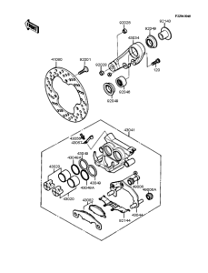
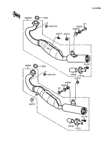
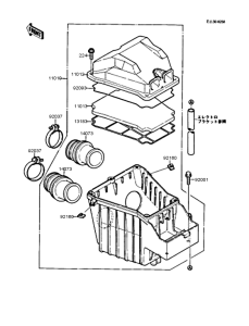
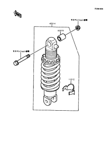
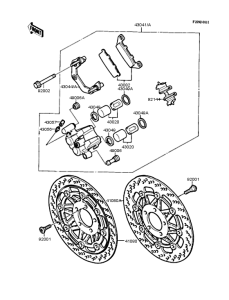
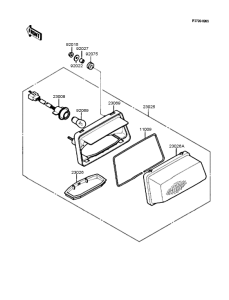
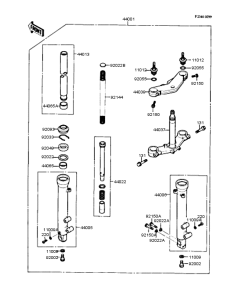
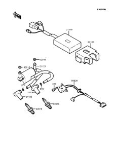
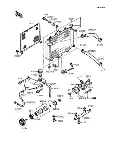
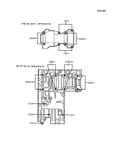
Запчасти для мотоциклов Kawasaki KR250 KR-I

Год: 1988  •  Код модели: KR250-B1  •  Объем двигателя: 250
Запчасти для мотоциклов Kawasaki KR250 KR-I
{modalWnd}