OEM ЗАПЧАСТИ

  info@automotohub.ru   8 (916) 294-84-77
  О Компании   Оплата и Доставка   Помощь   Обратная связь

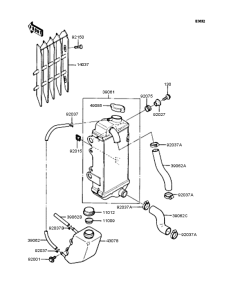
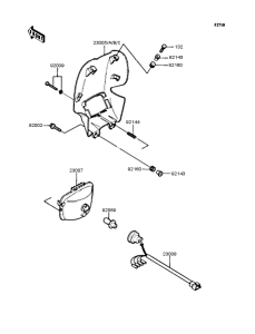
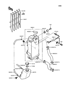
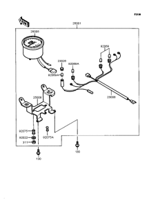
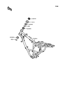
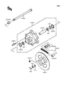
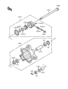
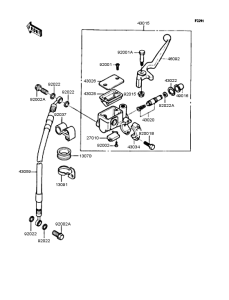
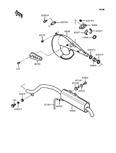
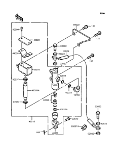
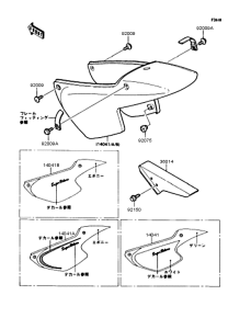
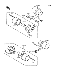
Запчасти для мотоциклов Kawasaki KMX50 KSR-I

Год: 1991  •  Код модели: KMX50-B2  •  Объем двигателя: 50
Запчасти для мотоциклов Kawasaki KMX50 KSR-I
{modalWnd}