OEM ЗАПЧАСТИ

  info@automotohub.ru   8 (916) 294-84-77
  О Компании   Оплата и Доставка   Помощь   Обратная связь

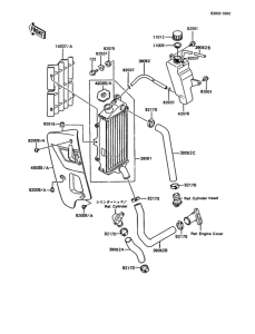
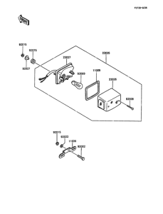
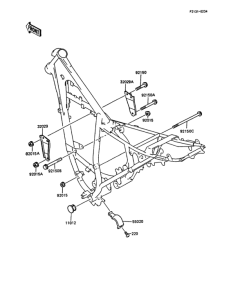
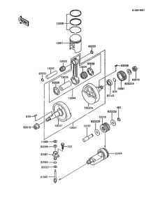
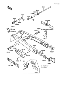
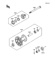
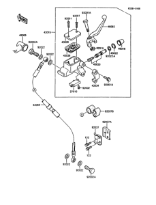
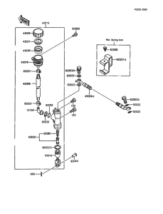
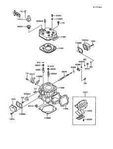
Запчасти для мотоциклов Kawasaki KMX200

Год: 1988  •  Код модели: KMX200-A2  •  Объем двигателя: 200
Запчасти для мотоциклов Kawasaki KMX200
Выбирайте узел вашей техники:


{modalWnd}