OEM ЗАПЧАСТИ

  info@automotohub.ru   8 (916) 294-84-77
  О Компании   Оплата и Доставка   Помощь   Обратная связь

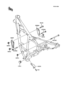
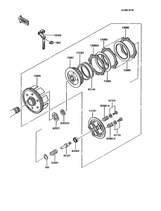
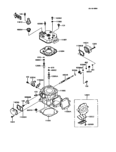
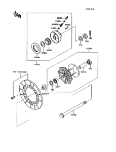
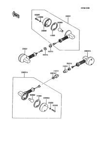
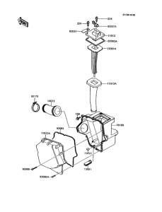
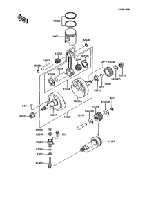
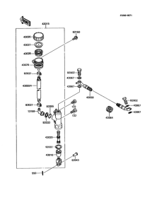
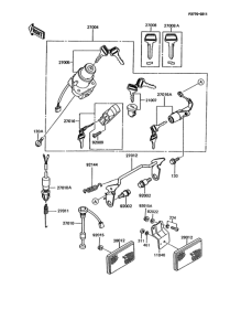
Запчасти для мотоциклов Kawasaki KMX125

Год: 1995  •  Код модели: KMX125-A8  •  Объем двигателя: 125
Запчасти для мотоциклов Kawasaki KMX125
Выбирайте узел вашей техники:


{modalWnd}