OEM ЗАПЧАСТИ

  info@automotohub.ru   8 (916) 294-84-77
  О Компании   Оплата и Доставка   Помощь   Обратная связь

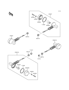
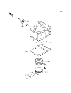
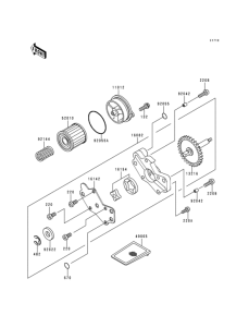
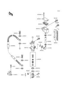
Запчасти для мотоциклов Kawasaki KLX300R

Год: 1999  •  Код модели: KLX300-B3  •  Объем двигателя: 300
Запчасти для мотоциклов Kawasaki KLX300R
{modalWnd}