OEM ЗАПЧАСТИ

  info@automotohub.ru   8 (916) 294-84-77
  О Компании   Оплата и Доставка   Помощь   Обратная связь

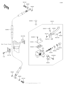
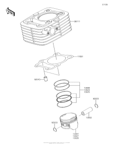
Запчасти для мотоциклов Kawasaki KLX140

Год: 2018  •  Код модели: KLX140AJF  •  Объем двигателя: 140
Запчасти для мотоциклов Kawasaki  KLX140
{modalWnd}