OEM ЗАПЧАСТИ

  info@automotohub.ru   8 (916) 294-84-77
  О Компании   Оплата и Доставка   Помощь   Обратная связь

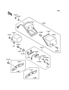
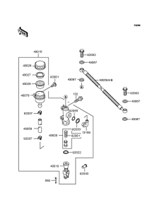
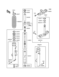
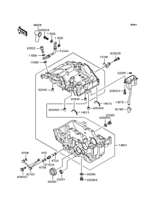
Запчасти для мотоциклов Kawasaki KLE250 Anhelo

Год: 1995  •  Код модели: KLE250-A2  •  Объем двигателя: 250
Запчасти для мотоциклов Kawasaki KLE250 Anhelo
Выбирайте узел вашей техники:


{modalWnd}