OEM ЗАПЧАСТИ

  info@automotohub.ru   8 (916) 294-84-77
  О Компании   Оплата и Доставка   Помощь   Обратная связь

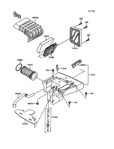
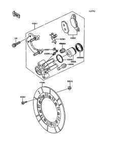
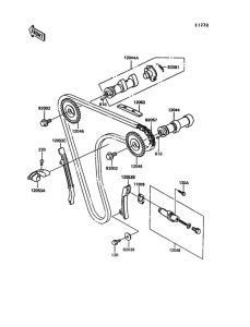
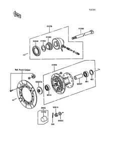
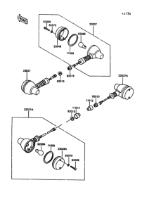
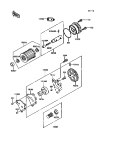
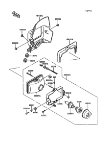
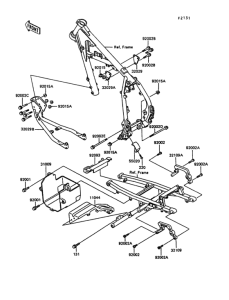
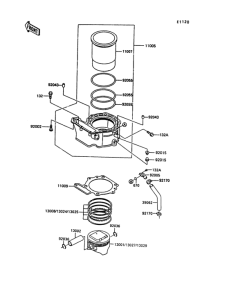
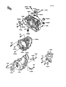
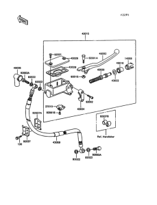
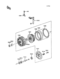
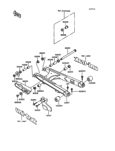
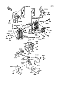
Запчасти для мотоциклов Kawasaki KL600 KLR600

Год: 1989  •  Код модели: KL600-B5  •  Объем двигателя: 600
Запчасти для мотоциклов Kawasaki KL600 KLR600
{modalWnd}