OEM ЗАПЧАСТИ

  info@automotohub.ru   8 (916) 294-84-77
  О Компании   Оплата и Доставка   Помощь   Обратная связь

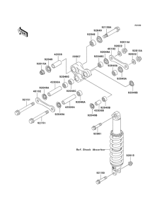
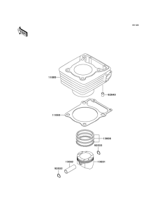
Запчасти для мотоциклов Kawasaki KL250 Super Sherpa

Год: 2003  •  Код модели: KL250-G7  •  Объем двигателя: 250
Запчасти для мотоциклов Kawasaki  KL250 Super Sherpa
Выбирайте узел вашей техники:


{modalWnd}