OEM ЗАПЧАСТИ

  info@automotohub.ru   8 (916) 294-84-77
  О Компании   Оплата и Доставка   Помощь   Обратная связь

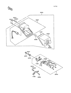
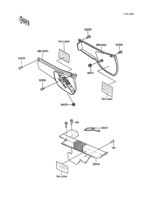
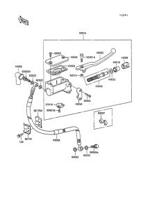
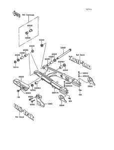
Запчасти для мотоциклов Kawasaki KL250 KLR250

Год: 1991  •  Код модели: KL250-D8  •  Объем двигателя: 250
Запчасти для мотоциклов Kawasaki KL250 KLR250
Выбирайте узел вашей техники:


{modalWnd}