OEM ЗАПЧАСТИ

  info@automotohub.ru   8 (916) 294-84-77
  О Компании   Оплата и Доставка   Помощь   Обратная связь

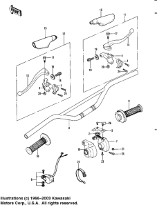
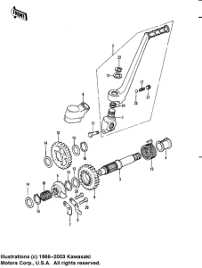
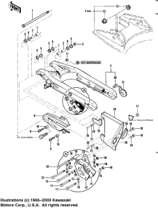
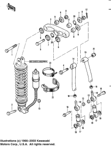
Запчасти для мотоциклов Kawasaki KDX450

Год: 1982  •  Код модели: KDX450-A1  •  Объем двигателя: 450
Запчасти для мотоциклов Kawasaki KDX450
{modalWnd}