OEM ЗАПЧАСТИ

  info@automotohub.ru   8 (916) 294-84-77
  О Компании   Оплата и Доставка   Помощь   Обратная связь

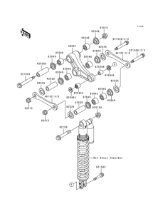
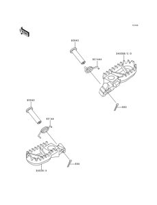
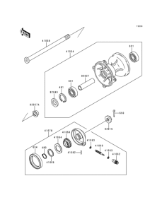
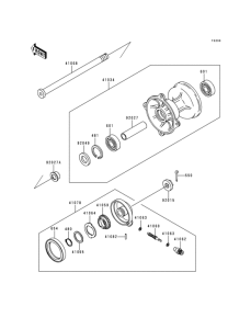
Запчасти для мотоциклов Kawasaki KDX250R

Год: 1991  •  Код модели: KDX250-D1  •  Объем двигателя: 250
Запчасти для мотоциклов Kawasaki  KDX250R
Выбирайте узел вашей техники:


{modalWnd}