OEM ЗАПЧАСТИ

  info@automotohub.ru   8 (916) 294-84-77
  О Компании   Оплата и Доставка   Помощь   Обратная связь

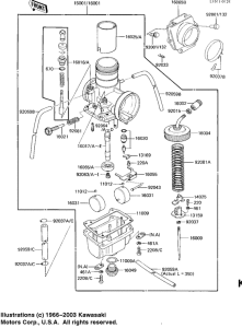
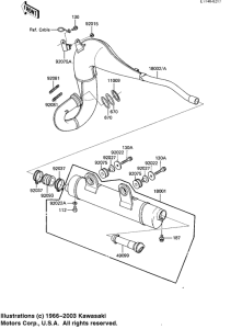
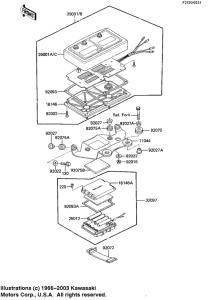
Запчасти для мотоциклов Kawasaki KDX200

Год: 1985  •  Код модели: KDX200-A3  •  Объем двигателя: 200
Запчасти для мотоциклов Kawasaki  KDX200
{modalWnd}