OEM ЗАПЧАСТИ

  info@automotohub.ru   8 (916) 294-84-77
  О Компании   Оплата и Доставка   Помощь   Обратная связь

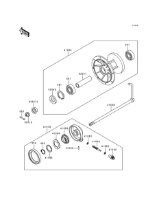
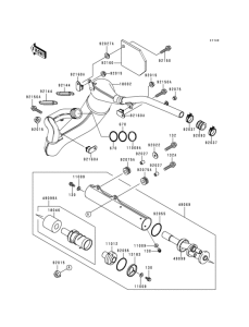
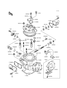
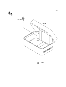
Запчасти для мотоциклов Kawasaki KDX200

Год: 1993  •  Код модели: KDX200-E5  •  Объем двигателя: 200
Запчасти для мотоциклов Kawasaki  KDX200
Выбирайте узел вашей техники:


{modalWnd}