OEM ЗАПЧАСТИ

  info@automotohub.ru   8 (916) 294-84-77
  О Компании   Оплата и Доставка   Помощь   Обратная связь

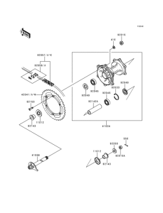
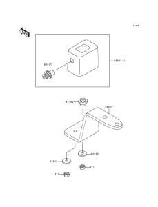
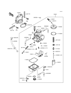
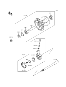
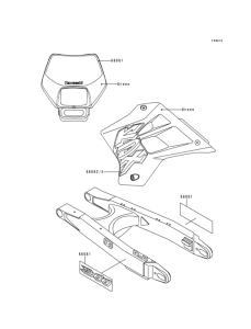
Запчасти для мотоциклов Kawasaki KDX200

Год: 1998  •  Код модели: KDX200-H4  •  Объем двигателя: 200
Запчасти для мотоциклов Kawasaki  KDX200
Выбирайте узел вашей техники:


{modalWnd}