OEM ЗАПЧАСТИ

  info@automotohub.ru   8 (916) 294-84-77
  О Компании   Оплата и Доставка   Помощь   Обратная связь

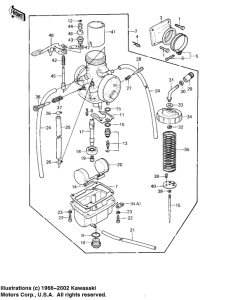
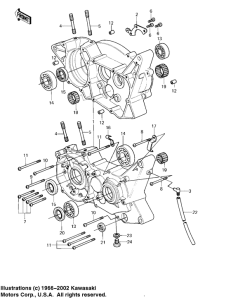
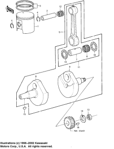
Запчасти для мотоциклов Kawasaki KDX175

Год: 1980  •  Код модели: KDX175-A1  •  Объем двигателя: 175
Запчасти для мотоциклов Kawasaki KDX175
{modalWnd}