OEM ЗАПЧАСТИ

  info@automotohub.ru   8 (916) 294-84-77
  О Компании   Оплата и Доставка   Помощь   Обратная связь

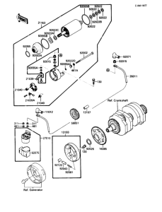
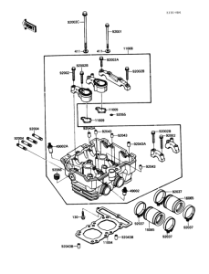
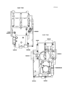
Запчасти для мотоциклов Kawasaki EX250 Ninja 250

Год: 1988  •  Код модели: EX250-F2  •  Объем двигателя: 250
Запчасти для мотоциклов Kawasaki EX250 Ninja 250
Выбирайте узел вашей техники:


{modalWnd}