OEM ЗАПЧАСТИ

  info@automotohub.ru   8 (916) 294-84-77
  О Компании   Оплата и Доставка   Помощь   Обратная связь

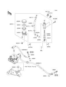
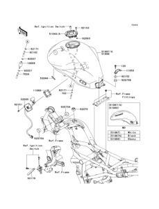
Запчасти для мотоциклов Kawasaki ER400 ER-4N ABS

Год: 2011  •  Код модели: ER400CBF  •  Объем двигателя: 400
Запчасти для мотоциклов Kawasaki ER400 ER-4N ABS
Выбирайте узел вашей техники:


{modalWnd}