OEM ЗАПЧАСТИ

  info@automotohub.ru   8 (916) 294-84-77
  О Компании   Оплата и Доставка   Помощь   Обратная связь

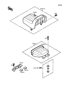
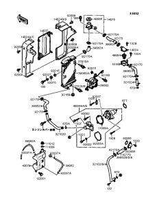
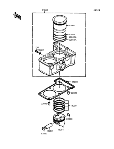
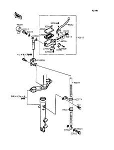
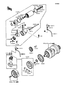
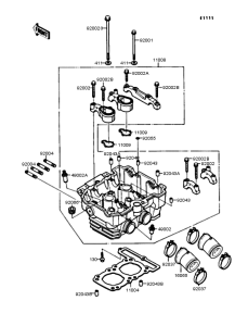
Запчасти для мотоциклов Kawasaki EL250 Eliminator 250

Год: 1987  •  Код модели: EL250-B1  •  Объем двигателя: 250
Запчасти для мотоциклов Kawasaki EL250 Eliminator 250
{modalWnd}