OEM ЗАПЧАСТИ

  info@automotohub.ru   8 (916) 294-84-77
  О Компании   Оплата и Доставка   Помощь   Обратная связь

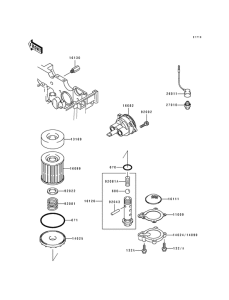
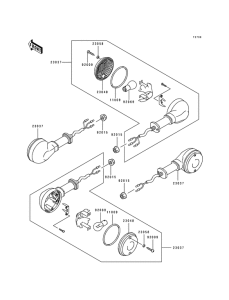
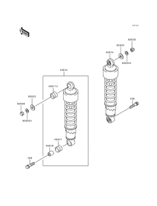
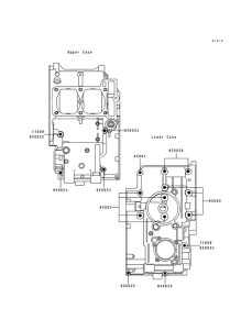
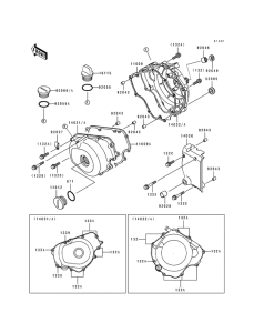
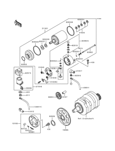
Запчасти для мотоциклов Kawasaki EL250 Eliminator 250

Год: 1992  •  Код модели: EL250-E2  •  Объем двигателя: 250
Запчасти для мотоциклов Kawasaki EL250 Eliminator 250
Выбирайте узел вашей техники:


{modalWnd}