OEM ЗАПЧАСТИ

  info@automotohub.ru   8 (916) 294-84-77
  О Компании   Оплата и Доставка   Помощь   Обратная связь

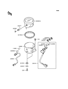
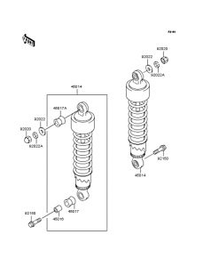
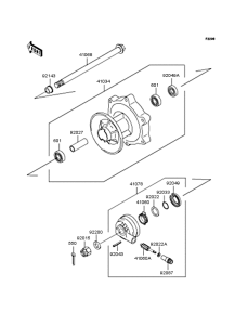
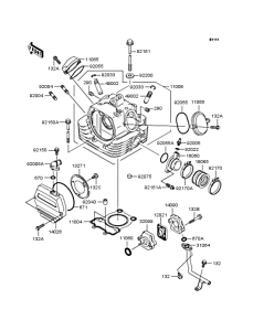
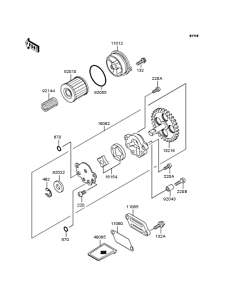
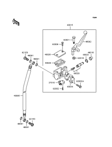
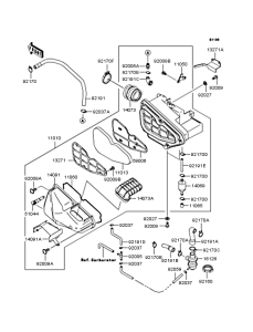
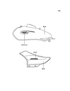
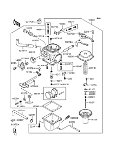
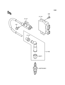
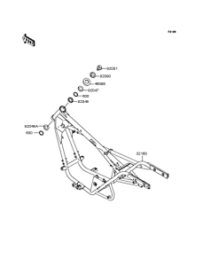
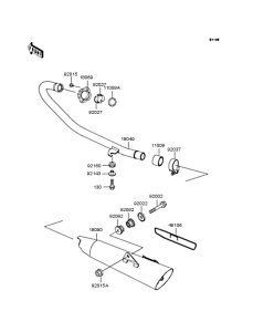
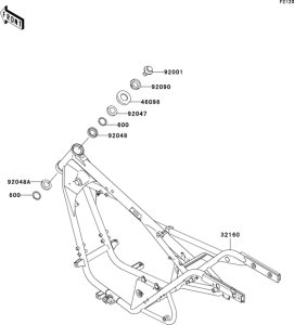
Запчасти для мотоциклов Kawasaki BN125 Eliminator

Год: 2007  •  Код модели: BN125A7F  •  Объем двигателя: 125
Запчасти для мотоциклов Kawasaki BN125 Eliminator
Выбирайте узел вашей техники:


{modalWnd}