OEM ЗАПЧАСТИ

  info@automotohub.ru   8 (916) 294-84-77
  О Компании   Оплата и Доставка   Помощь   Обратная связь

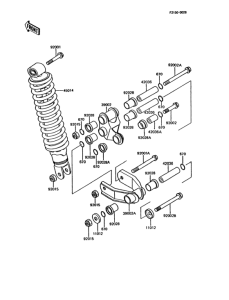
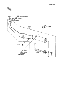
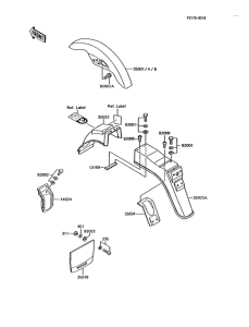
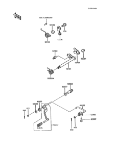
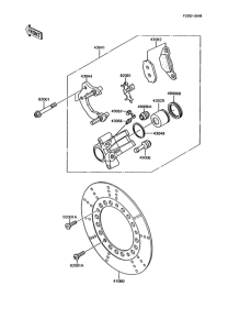
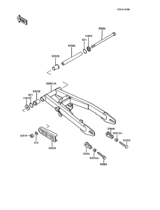
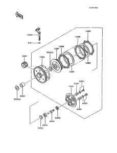
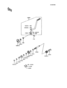
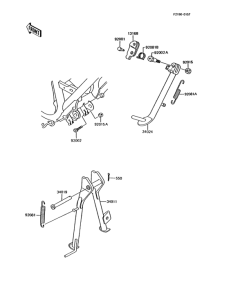
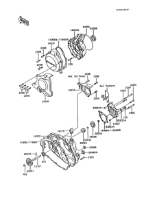
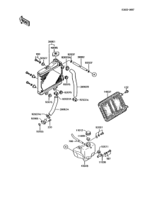
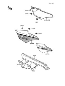
Запчасти для мотоциклов Kawasaki AR125

Год: 1988  •  Код модели: AR125-B5  •  Объем двигателя: 125
Запчасти для мотоциклов Kawasaki AR125
{modalWnd}