OEM ЗАПЧАСТИ

  info@automotohub.ru   8 (916) 294-84-77
  О Компании   Оплата и Доставка   Помощь   Обратная связь

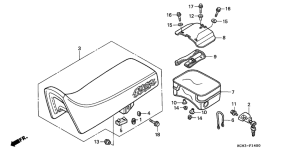
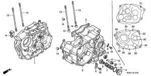
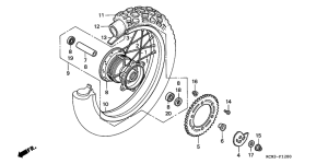
Запчасти для мотоциклов Honda XLR125

Год: 1998  •  Код модели: XLR125RW  •  Объем двигателя: 125
Запчасти для мотоциклов Honda XLR125
{modalWnd}