OEM ЗАПЧАСТИ

  info@automotohub.ru   8 (916) 294-84-77
  О Компании   Оплата и Доставка   Помощь   Обратная связь

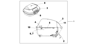
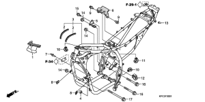
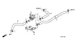
Запчасти для мотоциклов Honda XL125V Varadero

Год: 2007  •  Код модели: XL125V7  •  Объем двигателя: 125
Запчасти для мотоциклов Honda XL125V Varadero
Выбирайте узел вашей техники:


{modalWnd}