OEM ЗАПЧАСТИ

  info@automotohub.ru   8 (916) 294-84-77
  О Компании   Оплата и Доставка   Помощь   Обратная связь

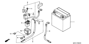
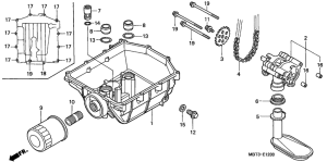
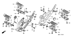
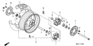
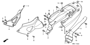
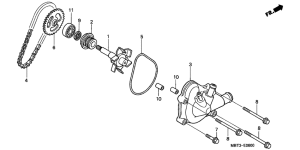
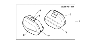
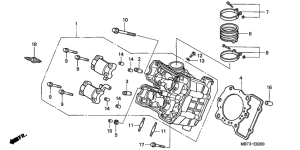
Запчасти для мотоциклов Honda XL1000V Varadero

Год: 2002  •  Код модели: XL1000V2  •  Объем двигателя: 1000
Запчасти для мотоциклов Honda XL1000V Varadero
Выбирайте узел вашей техники:


{modalWnd}