OEM ЗАПЧАСТИ

  info@automotohub.ru   8 (916) 294-84-77
  О Компании   Оплата и Доставка   Помощь   Обратная связь

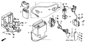
Запчасти для мотоциклов Honda VT1100C3 Shadow Aero

Год: 2000  •  Код модели: VT1100C3 AC  •  Объем двигателя: 1100
Запчасти для мотоциклов Honda VT1100C3 Shadow Aero
Выбирайте узел вашей техники:


{modalWnd}