OEM ЗАПЧАСТИ

  info@automotohub.ru   8 (916) 294-84-77
  О Компании   Оплата и Доставка   Помощь   Обратная связь

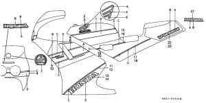
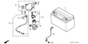
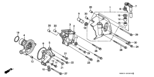
Запчасти для мотоциклов Honda VFR400R

Год: 1990  •  Код модели: VFR400R3L  •  Объем двигателя: 400
Запчасти для мотоциклов Honda VFR400R
Выбирайте узел вашей техники:


{modalWnd}