OEM ЗАПЧАСТИ

  info@automotohub.ru   8 (916) 294-84-77
  О Компании   Оплата и Доставка   Помощь   Обратная связь

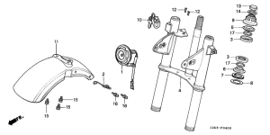
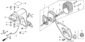
Запчасти для мотоциклов Honda ST50 DAX

Год: 1982  •  Код модели: ST50C  •  Объем двигателя: 50
Запчасти для мотоциклов Honda ST50 DAX
{modalWnd}