OEM ЗАПЧАСТИ

  info@automotohub.ru   8 (916) 294-84-77
  О Компании   Оплата и Доставка   Помощь   Обратная связь

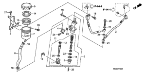
Запчасти для мотоциклов Honda ST1300 (ABS) Pan-European

Год: 2009  •  Код модели: ST1300A A/A  •  Объем двигателя: 1300
Запчасти для мотоциклов Honda ST1300 (ABS) Pan-European
Выбирайте узел вашей техники:


{modalWnd}