OEM ЗАПЧАСТИ

  info@automotohub.ru   8 (916) 294-84-77
  О Компании   Оплата и Доставка   Помощь   Обратная связь

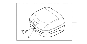
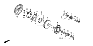
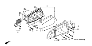
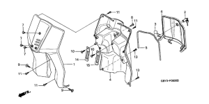
Запчасти для мотоциклов Honda SH50 Scoopy

Год: 2000  •  Код модели: SH50Y  •  Объем двигателя: 50
Запчасти для мотоциклов Honda SH50 Scoopy
Выбирайте узел вашей техники:


{modalWnd}