OEM ЗАПЧАСТИ

  info@automotohub.ru   8 (916) 294-84-77
  О Компании   Оплата и Доставка   Помощь   Обратная связь

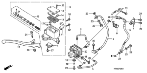
Запчасти для мотоциклов Honda SH300 (ABS)

Год: 2009  •  Код модели: SH300A9  •  Объем двигателя: 300
Запчасти для мотоциклов Honda SH300 (ABS)
Выбирайте узел вашей техники:


{modalWnd}