OEM ЗАПЧАСТИ

  info@automotohub.ru   8 (916) 294-84-77
  О Компании   Оплата и Доставка   Помощь   Обратная связь

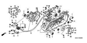
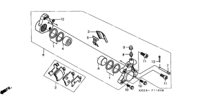
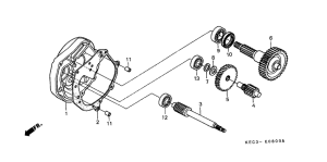
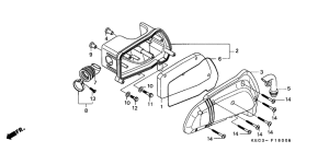
Запчасти для мотоциклов Honda SH100 Scoopy

Год: 2001  •  Код модели: SH1001  •  Объем двигателя: 100
Запчасти для мотоциклов Honda SH100 Scoopy
Выбирайте узел вашей техники:


{modalWnd}