OEM ЗАПЧАСТИ

  info@automotohub.ru   8 (916) 294-84-77
  О Компании   Оплата и Доставка   Помощь   Обратная связь

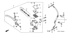
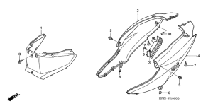
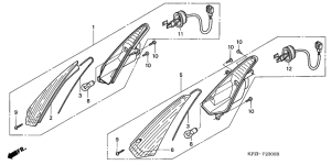
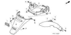
Запчасти для мотоциклов Honda SES150 Dylan

Год: 2003  •  Код модели: SES1503  •  Объем двигателя: 150
Запчасти для мотоциклов Honda SES150 Dylan
Выбирайте узел вашей техники:


{modalWnd}