OEM ЗАПЧАСТИ

  info@automotohub.ru   8 (916) 294-84-77
  О Компании   Оплата и Доставка   Помощь   Обратная связь

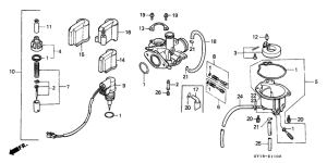
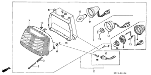
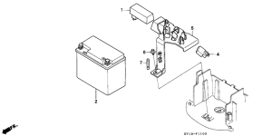
Запчасти для мотоциклов Honda SA50S

Год: 1991  •  Код модели: SA50SM  •  Объем двигателя: 50
Запчасти для мотоциклов Honda SA50S
{modalWnd}