OEM ЗАПЧАСТИ

  info@automotohub.ru   8 (916) 294-84-77
  О Компании   Оплата и Доставка   Помощь   Обратная связь

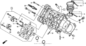
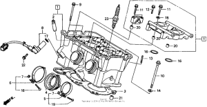
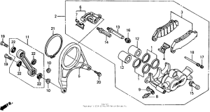
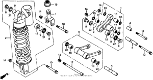
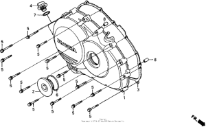
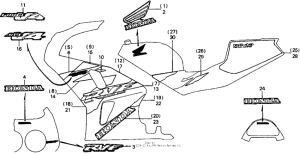
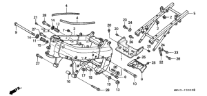
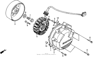
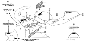
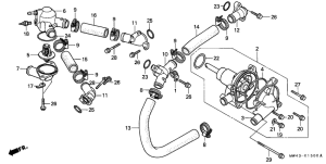
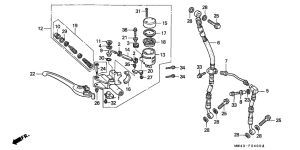
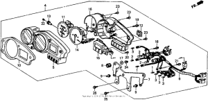
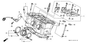
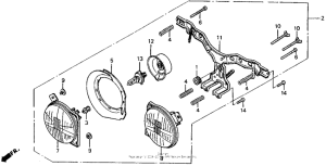
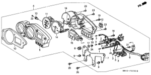
Запчасти для мотоциклов Honda RVF750 RFV RC45

Год: 1994  •  Код модели: RVF750R A  •  Объем двигателя: 750
Запчасти для мотоциклов Honda RVF750 RFV RC45
Выбирайте узел вашей техники:


{modalWnd}