OEM ЗАПЧАСТИ

  info@automotohub.ru   8 (916) 294-84-77
  О Компании   Оплата и Доставка   Помощь   Обратная связь

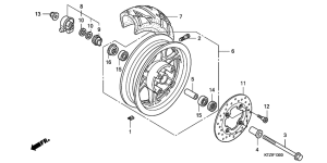
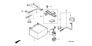
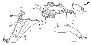
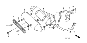
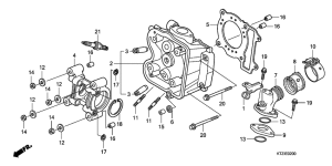
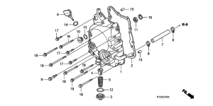
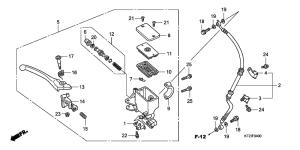
Запчасти для мотоциклов Honda PES150 PS150

Год: 2009  •  Код модели: PES1509  •  Объем двигателя: 150
Запчасти для мотоциклов Honda PES150 PS150
Выбирайте узел вашей техники:


{modalWnd}