OEM ЗАПЧАСТИ

  info@automotohub.ru   8 (916) 294-84-77
  О Компании   Оплата и Доставка   Помощь   Обратная связь

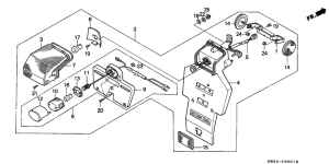
Запчасти для мотоциклов Honda NX250

Год: 1988  •  Код модели: NX250J  •  Объем двигателя: 250
Запчасти для мотоциклов Honda NX250
{modalWnd}