OEM ЗАПЧАСТИ

  info@automotohub.ru   8 (916) 294-84-77
  О Компании   Оплата и Доставка   Помощь   Обратная связь

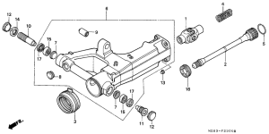
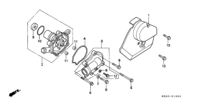
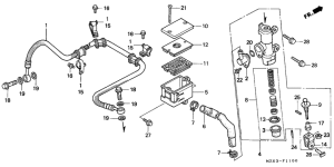
Запчасти для мотоциклов Honda NTV650 Revere

Год: 1995  •  Код модели: NTV650S  •  Объем двигателя: 650
Запчасти для мотоциклов Honda NTV650 Revere
Выбирайте узел вашей техники:


{modalWnd}