OEM ЗАПЧАСТИ

  info@automotohub.ru   8 (916) 294-84-77
  О Компании   Оплата и Доставка   Помощь   Обратная связь

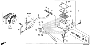
Запчасти для мотоциклов Honda NSS300 (ABS) Forza

Год: 2016  •  Код модели: NSS300A AC  •  Объем двигателя: 300
Запчасти для мотоциклов Honda NSS300 (ABS) Forza
Выбирайте узел вашей техники:


{modalWnd}