OEM ЗАПЧАСТИ

  info@automotohub.ru   8 (916) 294-84-77
  О Компании   Оплата и Доставка   Помощь   Обратная связь

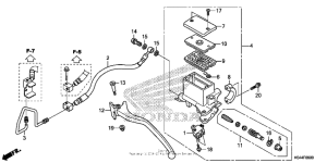
Запчасти для мотоциклов Honda NSS300 Forza

Год: 2014  •  Код модели: NSS300 AC  •  Объем двигателя: 300
Запчасти для мотоциклов Honda NSS300 Forza
Выбирайте узел вашей техники:


{modalWnd}