OEM ЗАПЧАСТИ

  info@automotohub.ru   8 (916) 294-84-77
  О Компании   Оплата и Доставка   Помощь   Обратная связь

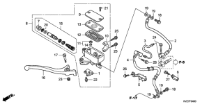
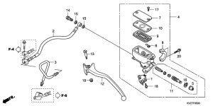
Запчасти для мотоциклов Honda NSS250S Forza

Год: 2008  •  Код модели: NSS250S8  •  Объем двигателя: 250
Запчасти для мотоциклов Honda NSS250S Forza
Выбирайте узел вашей техники:


{modalWnd}