OEM ЗАПЧАСТИ

  info@automotohub.ru   8 (916) 294-84-77
  О Компании   Оплата и Доставка   Помощь   Обратная связь

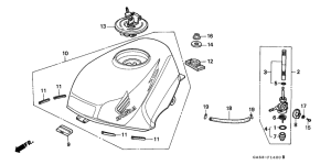
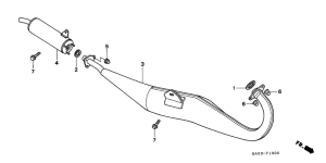
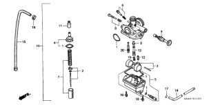
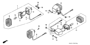
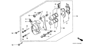
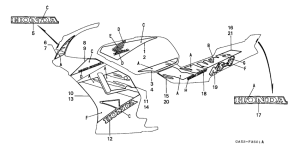
Запчасти для мотоциклов Honda NSR75

Год: 1993  •  Код модели: NSR75P  •  Объем двигателя: 75
Запчасти для мотоциклов Honda NSR75
{modalWnd}