OEM ЗАПЧАСТИ

  info@automotohub.ru   8 (916) 294-84-77
  О Компании   Оплата и Доставка   Помощь   Обратная связь

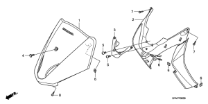
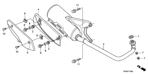
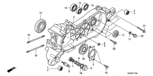
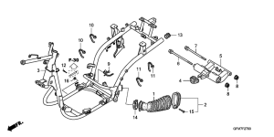
Запчасти для мотоциклов Honda NHX110 Lead

Год: 2008  •  Код модели: NHX110WH8  •  Объем двигателя: 110
Запчасти для мотоциклов Honda NHX110 Lead
Выбирайте узел вашей техники:


{modalWnd}