OEM ЗАПЧАСТИ

  info@automotohub.ru   8 (916) 294-84-77
  О Компании   Оплата и Доставка   Помощь   Обратная связь

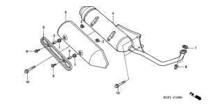
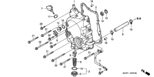
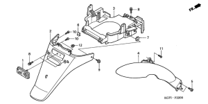
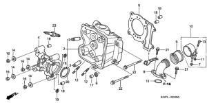
Запчасти для мотоциклов Honda NES150

Год: 2005  •  Код модели: NES1505  •  Объем двигателя: 150
Запчасти для мотоциклов Honda NES150
Выбирайте узел вашей техники:


{modalWnd}